通话记录查询
本文详细介绍了呼叫中心通话记录查询与管理功能的操作流程,并对筛选条件、字段含义及录音操作进行了全面阐述。
功能概述
通话记录功能用于实时查询和历史回溯所有进出呼叫的详细数据,适用于话务质检、业务核对及纠纷处理场景。用户可灵活组合时间、分机、号码及呼叫状态等多维条件进行检索,支持在线播放录音、下载音频文件及查看转写文本,所有记录均纳入系统日志供长期追溯。
功能入口
登录呼叫中心控制台,在左侧导航栏选择 通话 > 通话记录(或 报表 > 通话明细),进入管理页面。
功能介绍
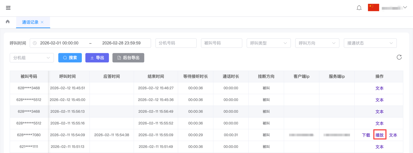
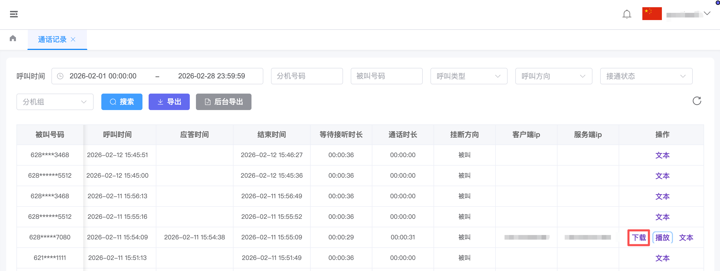
查询通话记录
在通话记录页面,顶部筛选栏提供以下配置项:
- 呼叫时间:必选项,支持选择起止日期范围(如“最近24小时”、“自定义时间段”),系统将仅展示该范围内的数据;
- 分机号码:可选项,输入具体分机号可筛选该坐席的所有通话;
- 主叫/被叫号码:可选项,输入完整或部分电话号码,模糊匹配相关记录;
- 呼叫类型:下拉选择,支持 手拨、接口呼叫、双呼、预测式外呼 或 IVR自助呼叫;
- 呼叫方向:下拉选择 呼入、呼出通话;
- 呼叫状态:下拉选择 已接通、未接通,快速定位特定结果的话务;
- 设定好上述条件后,点击 查询 按钮,下方列表将即时刷新显示匹配结果。
查询结果列表中,每条记录包含以下核心字段:
基础信息:主叫号码、被叫号码、占用分机号、呼叫方向(呼入/呼出);
业务属性:呼叫类型(如预测外呼)、挂断方向(主叫挂/被叫挂)、双方IP地址;
时间维度:
- 呼叫时间:发起呼叫的时刻;
- 应答时间:对方接起电话的时刻;
- 结束时间:通话挂断的时刻;
- 等待时长:从振铃到接起的耗时;
- 通话时长:实际沟通的持续时间(秒/分)。
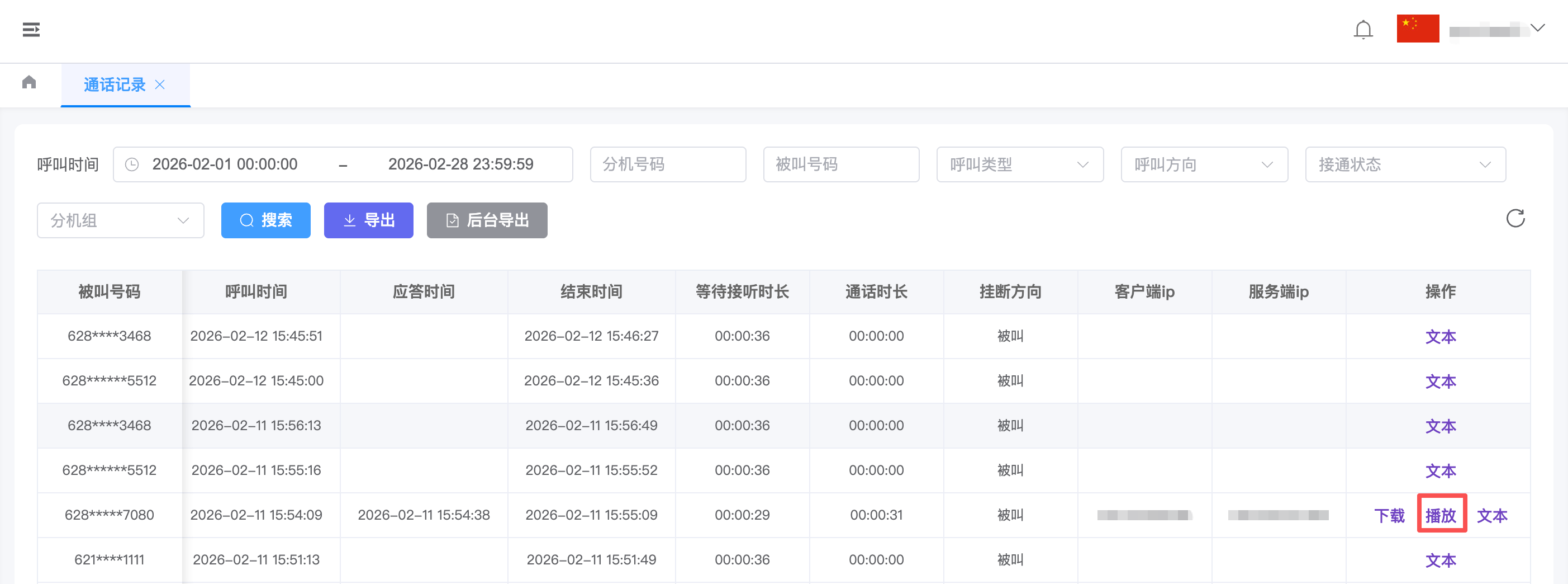
在线播放录音
在通话记录列表页面,选择对应条目操作列的播放按钮。
系统将在浏览器新打开一个页面弹出音频播放器;
用户可直接收听该通电话的完整录音;
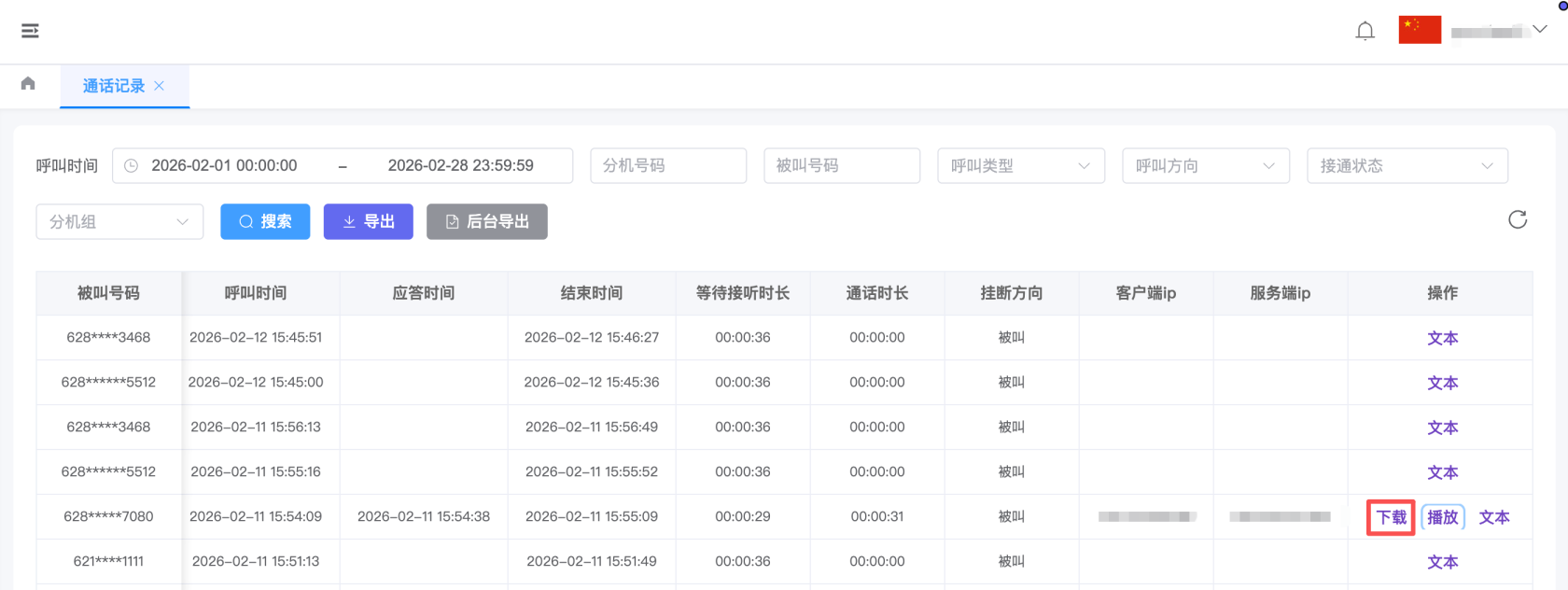
下载录音文件
在通话记录列表页面,选择对应条目操作列的下载按钮,浏览器将立即启动文件下载任务。
系统将把该条记录的音频文件(格式通常为 WAV 或 MP3)保存至用户本地的默认下载文件夹; 用户可在本地使用任意媒体播放器离线收听或归档保存。
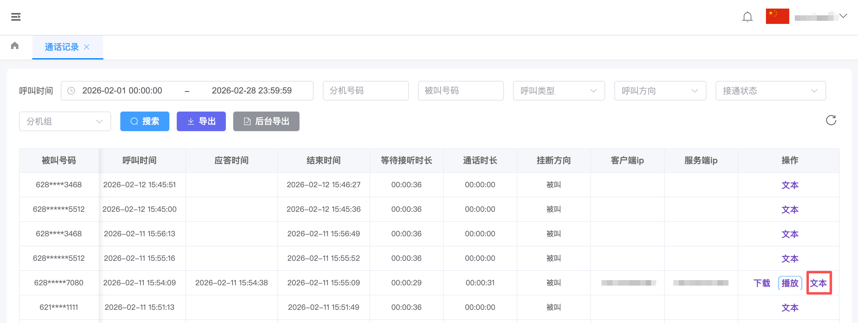
语音转文本
在通话记录列表页面,选择对应条目操作列的 转文本(或“查看文字”) 按钮,
在弹出的文本框窗口选择需要转换的语言。
点击确认系统将自动调用 ASR(语音识别)引擎,调取该段录音对应的识别结果;
识别完成之后可在通话 > 录音识别记录 列表进行查看。
⚠️ 操作注意:
若录音文件尚未完成上传或转码(通常通话结束后1-5分钟内),播放或下载按钮可能暂时置灰或提示“资源准备中”;
语音转文本功能的准确性受通话音质、口音及背景噪音影响,仅供参考,具体以录音为准;
下载和查看录音需具备相应的数据权限,无权限用户将无法看到操作按钮。
导出数据(可选)
在通话记录页面,点击列表上方的 导出 按钮,系统提供两种导出模式以应对不同数据量场景:
同步导出(适用于小数据量)
若当前筛选条件下的记录数较少(如少于 1000 条),系统将直接执行同步导出;
点击通话列表上方的 导出 按钮;
浏览器将立即弹出文件下载对话框;
用户可即时获取包含所有字段信息(含时间、号码、时长等)的 CSV 文件,方便离线分析或存档;
⚠️ 注意:若数据量较大,同步导出可能因网络超时导致失败,此时建议切换至异步导出。
异步导出(适用于大数据量)
创建任务
点击通话列表上方的 后台导出 按钮;
系统将在后台生成导出任务,并提示“任务已创建,请前往任务中心查看进度”,页面不会卡死或超时。
查看进度
在左侧导航栏找到 通话 > 任务中心(或“导出任务管理”) 入口并点击进入;
在任务列表中找到刚才创建的导出任务;
查看 状态列,实时显示任务进度(如“排队中”、“生成中 50%”、“已完成”或“失败”)。
下载文件
当任务状态变为 已完成 时,操作列的 下载 按钮将被激活;
点击 下载,系统将把生成的完整数据文件保存至本地;
支持多次下载,文件通常在任务完成后保留 2 小时(依系统配置而定),过期后自动清理。
⚠️ 格式要求:
最大行数:单次异步导出任务通常支持最多 10 万 -50 万条记录(具体视系统配置);
文件有效期:异步生成的文件并非永久存储,请及时下载,避免过期丢失;
并发限制:同一用户同时进行的异步导出任务数量可能有限制(如最多 3 个),超出需等待其他任务完成。
⚠️ 注意事项
权限控制:普通坐席通常仅能查看本人分机的通话记录,管理员或质检员可查看全中心数据;
录音延迟:通话结束后,录音文件上传及转码可能需要1-5分钟延迟,期间可能暂时无法播放或下载;
存储周期:录音文件及详细记录通常保留3-6个月(具体依公司策略而定),过期后可能自动清除或归档至冷存储;












